
大平台有保障,放心更省心

海量精品资源,顾问把关

一站式服务,快捷省心

一对一优质服务,安心
专利信息| 类型 | 发明授权 |
| 行业类型 | 艺术/设计 |
| 交易方式 | 许可 |
| 申请时间 | 2013-11-21 |
| 到期时间 | |
| 申请号 | |
| 公开/公告号 | CN201310587800.3 |
| 专利状态 | 有效 |
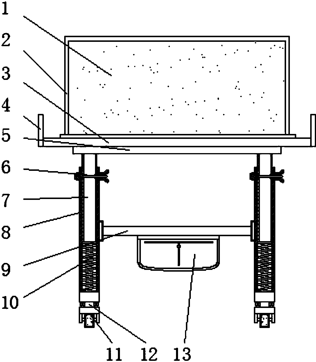
专利详情水墨画专用计量调色盒器,其属于美术绘画用具领域。包括调色盒、底座、水槽和水容器,水槽设置在底座上,还包括计量注水装置,计量注水装置位于水槽一侧,调色盒位于水槽另一侧;计量注水装置上方固定设置水容器,计量注水装置包括计量室、活塞、把手,计量室靠近水槽的上部设置与水容器联通的单向阀A,计量室朝向水槽的开口位置设置单向阀B;单向阀A为水容器向计量室流水的单向设置,单向阀B为计量室向水槽内流水的单向设置。本发明提供水墨画专用计量调色盒器,能够计量用于润墨的水量。尤其在水墨画教学中,对于水量的控制起到意想不到的作用,能够给学生打下结实的基础。
交易流程
提出你的专利需求
顾问一对一服务

顾问匹配资源库
快速确定优质专利

签订专利转让协议
成功付款

准备转让资料
国知局审查办理

领取证书,获得专
利权,投入使用
过户资料| 买家双方需提供资料 | ||
| 公司 | 个人 | |
| 买家 |
企业营业执照 企业组织机构代码证 |
身份证 |
| 卖家 |
企业营业执照 专利证书原件 |
身份证 专利证书原件 |
| 网站提供 | 过户后您将获得 |
|
专利代理委托书 专利权转让协议 办理文件副本请求书 发明人变更声明 |
专利证书 手续合格通知书 专利登记簿副本 |
安全保障



海量优质专利任意挑选,专业团队24小时全在线服务
海量优质专利任意挑选,专业团队24小时全在线服务
海量优质专利任意挑选,专业团队24小时全在线服务
海量优质专利任意挑选,专业团队24小时全在线服务
常见问题专利交易分为:完全转让、独占许可、排他许可、普通许可等方式。我们通常采用的交易方式为完全转让,即受让方完全拥有专利权,包含所有权与使用权。而许可单指拥有专利的使用权。
申请人或专利权人符合下列条件之一的:
(一)上年度月均收入低于3500元(年4.2万元)的个人;
(二)上年度企业应纳税所得额低于30万元的企业;
(三)事业单位、社会团体、非营利性科研机构;
两个或者两个以上的个人或者单位为共同专利申请人或者共有专利权人的,应当分别符合前款规定;
申请人或专利权人在申请日后请求费减的,则需提交《费用减缴请求书(申请日后提交适用)》,并填写专利费减备案证件号。
当专利局审查后,会对审查结果做出通知。如果审核通过的话,专利局一般会在2到6个月内发专利转让合格通知书。并且可以在国家知识产权局专利库中查询到相关的变更结果。
专利相关推荐
大平台有保障,放心更省心

海量精品资源,顾问把关

一站式服务,快捷省心

一对一优质服务,安心