
大平台有保障,放心更省心

海量精品资源,顾问把关

一站式服务,快捷省心

一对一优质服务,安心
专利信息| 类型 | 发明授权 |
| 行业类型 | 物理 |
| 交易方式 | 许可 |
| 申请时间 | 2016-07-26 |
| 到期时间 | |
| 申请号 | |
| 公开/公告号 | CN201610589996.3 |
| 专利状态 | 有效 |
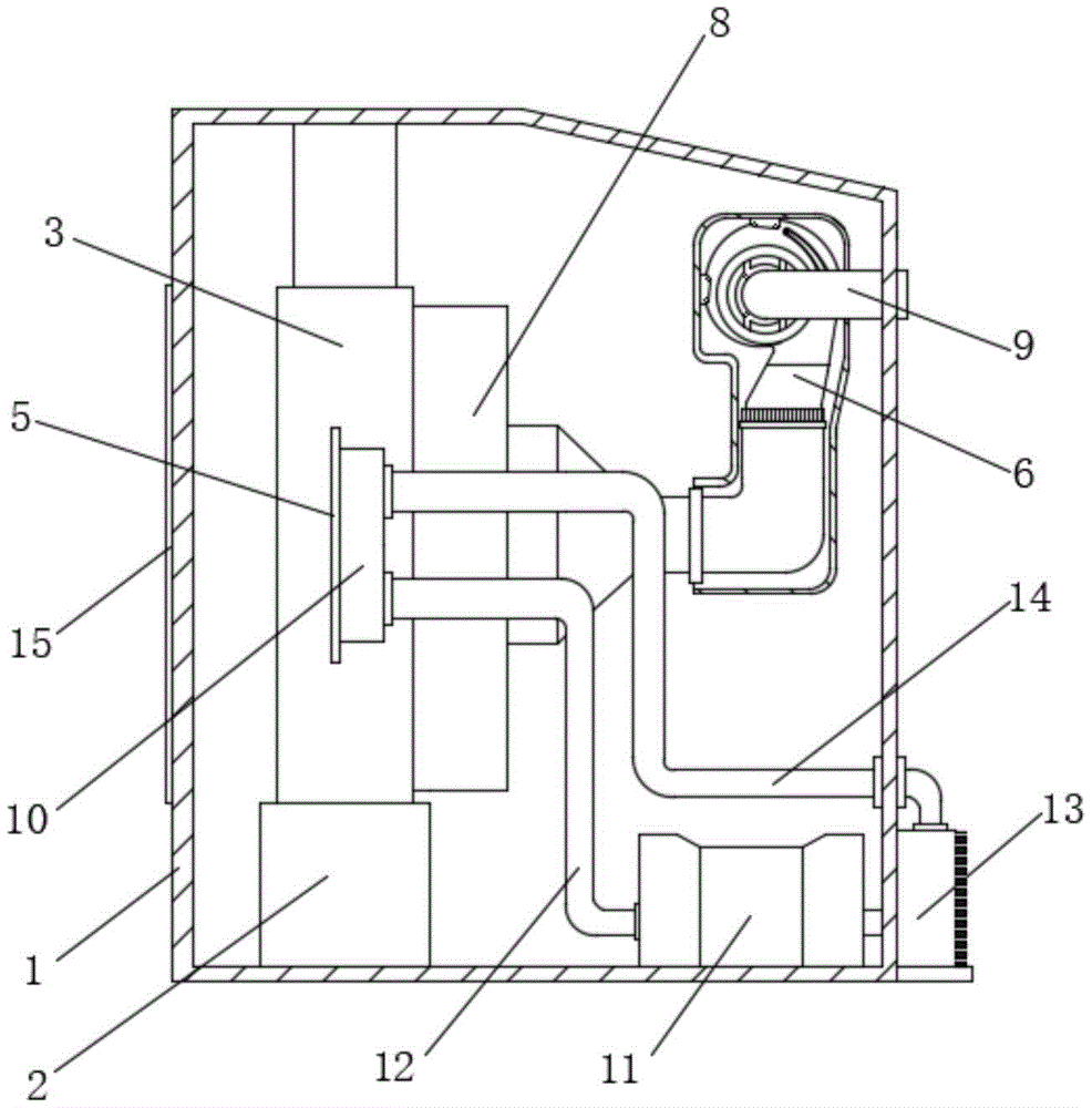
专利详情本发明公开了一种基于固有频率变化率的高层框架结构的损伤程度识别方法,包括以下步骤:通过数值仿真方法建立频率变化率kf与损伤程度指标PK关系式;利用损伤后实测的加速度响应值反算出损伤程度指标PK。现有的损伤识别方法必须使用结构当前响应值信号与结构损伤前的响应值信号进行对比分析才能识别出损伤的程度,本发明只需要运用结构当前响应值信号进行分析便可以识别出结构的损伤程度。本发明由于量化了损伤程度指标与频率变化率的关系,可以定量的求出损伤程度指标,从而量化损伤程度。本发明将结构的损伤程度与频率变化率公式化,利用本发明的公式可以准确的计算出结构的损伤程度。
交易流程
提出你的专利需求
顾问一对一服务

顾问匹配资源库
快速确定优质专利

签订专利转让协议
成功付款

准备转让资料
国知局审查办理

领取证书,获得专
利权,投入使用
过户资料| 买家双方需提供资料 | ||
| 公司 | 个人 | |
| 买家 |
企业营业执照 企业组织机构代码证 |
身份证 |
| 卖家 |
企业营业执照 专利证书原件 |
身份证 专利证书原件 |
| 网站提供 | 过户后您将获得 |
|
专利代理委托书 专利权转让协议 办理文件副本请求书 发明人变更声明 |
专利证书 手续合格通知书 专利登记簿副本 |
安全保障



海量优质专利任意挑选,专业团队24小时全在线服务
海量优质专利任意挑选,专业团队24小时全在线服务
海量优质专利任意挑选,专业团队24小时全在线服务
海量优质专利任意挑选,专业团队24小时全在线服务
常见问题专利交易分为:完全转让、独占许可、排他许可、普通许可等方式。我们通常采用的交易方式为完全转让,即受让方完全拥有专利权,包含所有权与使用权。而许可单指拥有专利的使用权。
申请人或专利权人符合下列条件之一的:
(一)上年度月均收入低于3500元(年4.2万元)的个人;
(二)上年度企业应纳税所得额低于30万元的企业;
(三)事业单位、社会团体、非营利性科研机构;
两个或者两个以上的个人或者单位为共同专利申请人或者共有专利权人的,应当分别符合前款规定;
申请人或专利权人在申请日后请求费减的,则需提交《费用减缴请求书(申请日后提交适用)》,并填写专利费减备案证件号。
当专利局审查后,会对审查结果做出通知。如果审核通过的话,专利局一般会在2到6个月内发专利转让合格通知书。并且可以在国家知识产权局专利库中查询到相关的变更结果。
专利相关推荐
大平台有保障,放心更省心

海量精品资源,顾问把关

一站式服务,快捷省心

一对一优质服务,安心